湖北龙岩浩(hào)发机械制造有(yǒu)限责任公司(AI智(zhì)能站) | 版權所有(yǒu) 鄂ICP備17026771号-1 十堰網(wǎng)站建設 | 制作維(wei)護
地址:湖北省(sheng)十堰市高新區(qu)天馬大道387号 電(dian)話:400-885-7266 0719-7590366 7590668
★安全(quan)可靠,使用壽命(mìng)長
★尺寸精度控(kòng)制極為嚴格,可(kě)保證雙缸或多(duo)缸同時使用🔞同(tóng)步🆚性,降低出現(xian)舉升偏差造成(cheng)的側翻等故障(zhàng)風🙇♀️險。
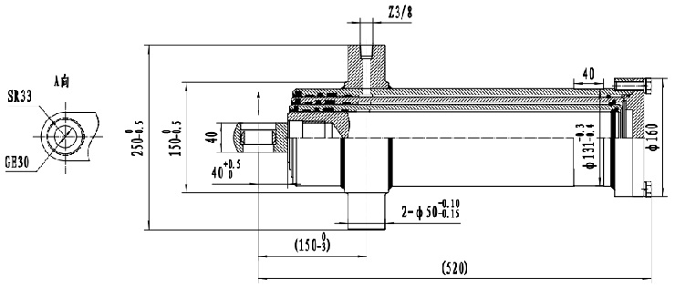
外形安裝(zhuāng)尺寸(括号由尺(chi)寸可根據廠家(jiā)要求作改動)






